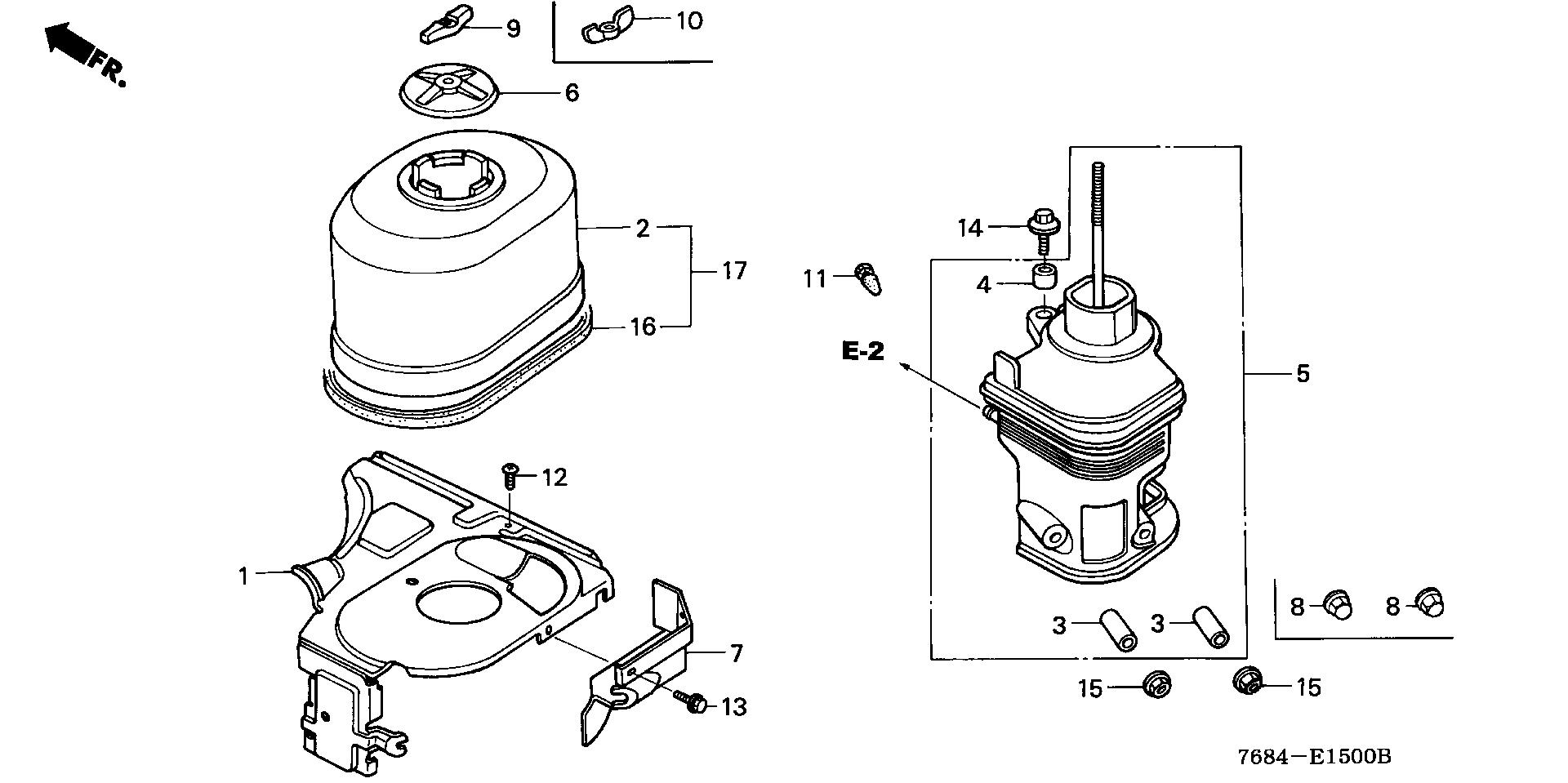
Snow Blowers HS HS928 HS928 TA SZAS-1100001-1129999 AIR CLEANER - Rons Rent-It Center, Inc.

Ref No
Part Number
Description
Serial Range
Qty
Price

Ref No
1
Part Number
16591-ZE2-P51
Description
COVER, CONTROL
Serial Range
1000001 - 9999999
Qty
Price
$62.32

Ref No
2
Part Number
17231-ZE2-000
Description
COVER, AIR CLEANER (SEMI-DRY)
Serial Range
1000001 - 9999999

Ref No
3
Part Number
17238-ZE2-310
Description
COLLAR, AIR CLEANER
Serial Range
1593526 - 9999999
Qty
Price
$4.56

Ref No
4
Part Number
17239-ZE1-000
Description
COLLAR B, AIR CLEANER
Serial Range
1000001 - 9999999
Qty
Price
$4.44

Ref No
5
Part Number
17410-ZE2-030
Description
ELBOW, AIR CLEANER
Serial Range
1000001 - 9999999
Qty
Price
$34.28

Ref No
6
Part Number
17420-ZE2-P50
Description
CAP, AIR CLEANER
Serial Range
1000001 - 9999999
Qty
Price
$11.22

Ref No
7
Part Number
19661-ZE2-P51
Description
COVER, AIR IN.
Serial Range
1000001 - 9999999
Qty
Price
$23.86

Ref No
10
Part Number
90325-044-000
Description
NUT, TOOL BOX SETTING
Serial Range
3190017 - 9999999
Qty
Price
$5.14

Ref No
11
Part Number
90899-422-610
Description
PLUG, CONE TYPE
Serial Range
1000001 - 9999999
Qty
Price
$2.42

Ref No
12
Part Number
93500-06008-0G
Description
SCREW, PAN (6X8)
Serial Range
1000001 - 9999999

Ref No
13
Part Number
95701-06008-07
Description
BOLT, FLANGE (6X8)
Serial Range
1000001 - 9999999

Ref No
15
Part Number
94050-06000
Description
NUT, FLANGE (6MM)
Serial Range
1000001 - 9999999
Qty
Price
$0.82

Ref No
16
Part Number
17233-ZE2-H90
Description
RUBBER, AIR CLEANER COVER
Serial Range
1593526 - 9999999
Qty
Price
$14.62

Ref No
17
Part Number
17230-ZE2-H90
Description
COVER, AIR CLEANER
Serial Range
1593526 - 9999999
Qty
Price
$49.28