Snow Blowers HS HS928 HS928 TA SZAS-1100001-1129999 TOOLS - Rons Rent-It Center, Inc.

Ref No
Part Number
Description
Serial Range
Qty
Price

Ref No
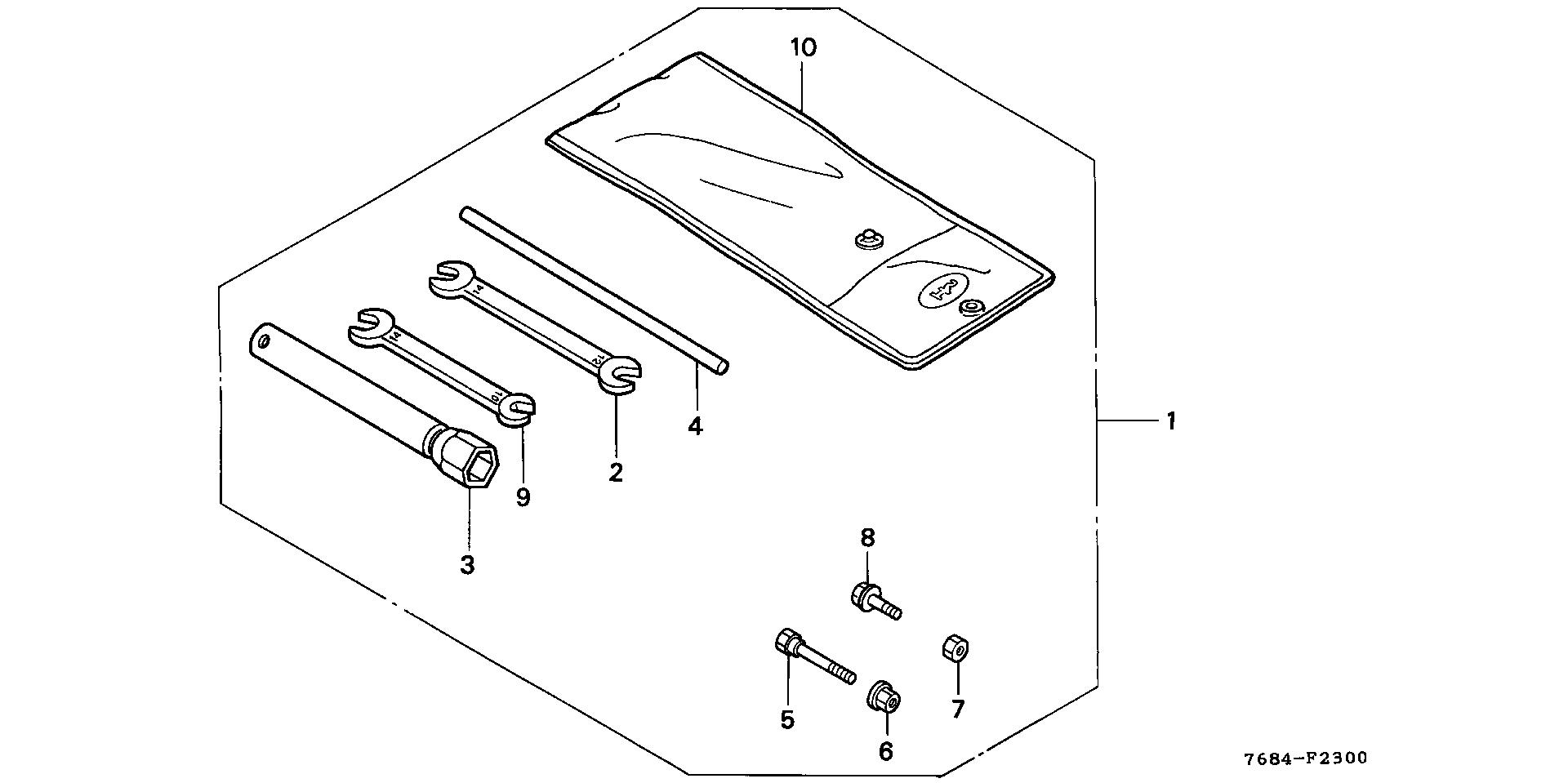
1
Part Number
89000-767-000
Description
TOOL KIT
Serial Range
1000001 - 9999999

Ref No
1
Part Number
89000-767-010
Description
TOOL KIT (NOT AVAILABLE)
Serial Range
1116980 - 9999999

Ref No
2
Part Number
89216-KB7-000
Description
SPANNER (12X14)
Serial Range
1000001 - 9999999
Qty
Price
$12.40

Ref No
3
Part Number
89216-809-000
Description
WRENCH, SPARK PLUG
Serial Range
1000001 - 9999999
Qty
Price
$8.60

Ref No
4
Part Number
89219-805-000
Description
HANDLE, BOX WRENCH
Serial Range
1000001 - 9999999
Qty
Price
$3.62

Ref No
5
Part Number
90102-732-010
Description
BOLT, LOCK
Serial Range
1000001 - 9999999

Ref No
6
Part Number
90114-SA0-000
Description
NUT, SELF-LOCK (6MM)
Serial Range
1000001 - 9999999
Qty
Price
$3.90

Ref No
7
Part Number
94001-06000-0S
Description
NUT, HEX. (6MM)
Serial Range
1116980 - 9999999

Ref No
7
Part Number
94001-06200-0S
Description
NUT, HEX. (6MM)
Serial Range
1116980 - 9999999
Qty
Price
$1.60

Ref No
8
Part Number
92101-06016-0A
Description
BOLT, HEX. (6X16)
Serial Range
1116980 - 9999999
Qty
Price
$1.78

Ref No
8
Part Number
95701-06016-00
Description
BOLT, FLANGE (6X16)
Serial Range
1116980 - 9999999
Qty
Price
$1.98

Ref No
9
Part Number
99001-10140
Description
SPANNER (10X14)
Serial Range
1000001 - 9999999
Qty
Price
$4.06

Ref No
10
Part Number
99008-02000
Description
BAG, TOOL (200MM)
Serial Range
1000001 - 9999999